ALUMIL SMARTIA S67 URBAN
Opis sistema
Moderan aluminijumski sistem sa uskim profilima
SMARTIA S67 URBAN je napredni aluminijumski sistem za otvarajuće prozore i vrata, namenjen savremenoj arhitekturi i urbanom okruženju. Sistem kombinuje vrhunske termoizolacione performanse sa minimalističkim dizajnom, zahvaljujući uskim profilima i ravnim linijama rama i krila.
Omogućava visok nivo udobnosti, energetske efikasnosti i estetske vrednosti, dok istovremeno zadržava čvrstoću i dugotrajnost karakterističnu za Alumil sisteme.
Ključne karakteristike:
-
Termički izolovan sistem sa poliamidnim prekinutim termičkim mostom
-
Moderan, “urbani” dizajn sa minimalnom vidljivom širinom aluminijuma
-
Odlična zaptivenost – dvostruka ili trostruka dihtung guma
-
Kompatibilnost sa skrivenim okovom i različitim tipovima ručki
-
Pogodan za energetski efikasne objekte
-
Dostupan u širokoj paleti RAL boja, eloksiranih i specijalnih završnih obrada
Dizajn i varijante:
-
Dostupan u verziji standardnog krila i “hidden sash” (skriveno krilo)
-
Ravan spoljašnji izgled – idealan za savremene i urbane objekte
-
Mogućnost integracije skrivenih okova i drenažnih kanala za čistu liniju dizajna
-
Velika sloboda u izboru stilskih i funkcionalnih rešenja
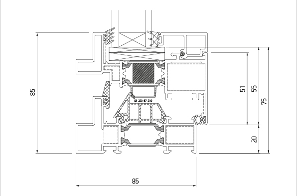
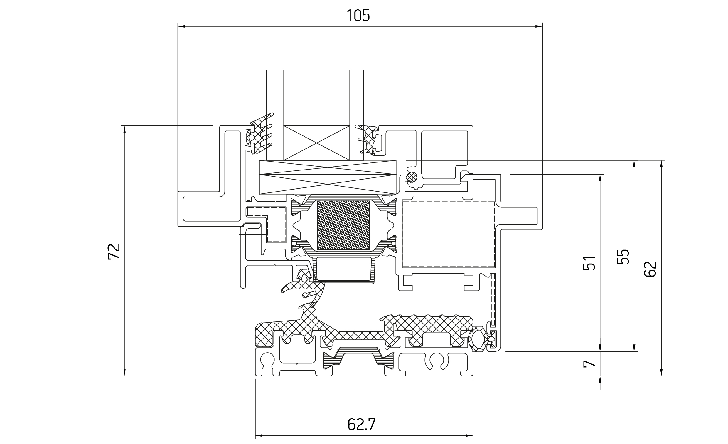
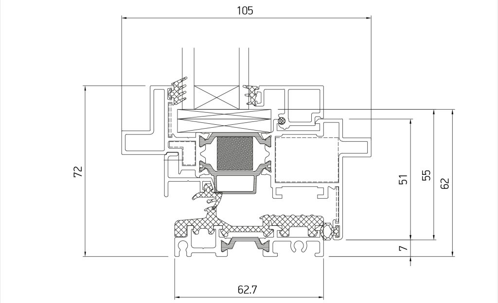
Tehničke specifikacije:
-
Dubina rama: 67 mm
-
Debljina stakla: do 58 mm
-
Toplotna provodljivost Uw: do 1,3 W/m²K
-
Zvučna izolacija: do 45 dB
-
Propusnost vazduha: Klasa 4
-
Vodonepropusnost: Klasa E1200
-
Otpornost na vetar: Klasa C4/B4
-
Maksimalna visina krila: do 2,4 m (opcionalno do 2,6 m)
-
Maksimalna širina krila: do 1,6 m
Primena:
SMARTIA S67 URBAN je idealan izbor za stambene i poslovne objekte koji zahtevaju moderan izgled, visoku funkcionalnost i odlične termoizolacione performanse.
Njegov elegantan dizajn sa ravnim linijama i minimalnim aluminijumom čini ga savršenim rešenjem za urbane prostore sa velikim staklenim površinama i prirodnim osvetljenjem.





